Elevatör
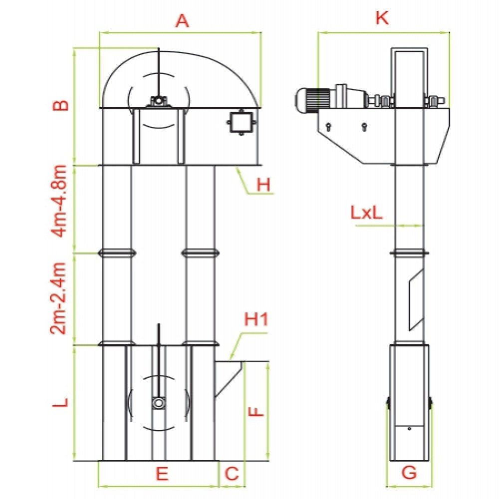
Elevator üst başlığı kolay sökülebilmesi için iki parçalı olarak imal edilmiştir. Elevatörün bütün bağlantıları civatalıdır. Gerektiğinde kolayca sökülebilir. Üst başlık: Kasnak, kasnak mili, rulman ve yatakları ile motor sehbasından meydana gelmiştir. Ürün çıkışı üst başlık üzerindedir. Alt başlıkta: Kasnak, kasnak mili, rulman ve yatakları ile ürün girişi ve temizleme kapakları vardır. Ayrıca kayış gerdirme sistemi alt başlık üzerindedir. Elevator kayışları siyah ve gri renkli olarak PVC'den imal edilmektedir. Taşınacak ürünün özelliğine göre farklı tür kayışlar kullanılabilir. Elevator kovaları, ölçülerine göre pres veya normal kaynaklı imal edilmektedir. Taşınacak ürünün özelliğine uygun kova seçilmesi gerekir. Elevator boruları 1.5 mm ~ 2.5 mm saçtan pres baskılı olarak imal edilmektedir. Kova bağlamak için 1 adet elevator borusu sökülebilir olarak imal edilmiştir. Elevatörlerin kapasite ve yüksekliğine göre redüktörlü motor seçimi yapılır. Üst başlıkta bulunan ayarlı motor sehpası, redüktörlü motor'un elevatöre zincir kaplin ile bağlanmasını sağlar. İsteğe göre geri dönüşsüz rulman veya frenli tip redüktörlü motor kullanılabilir.
| Model / Type | E 16x16 | E22x22 | E 25x25 | E 28x30 | E 30x35 | E 35x40 | E 40x45 | ||
| Kapasite Capacity | Buğ.- Wheat | 8 | 16 | 28 | 35 | 45 | 65 | 100 | |
| Un - Rour | 5 | 12.May | 21 | 28 | 35 | 45 | 80 | ||
| Kasnak | Eni- Width | 140 | 190 | 220 | 250 | 270 | 320 | 370 | |
| Çap-0 | 400 | 480 | 480 | 480 | 600 | 600 | 600 | ||
| Kayış Belt | Eni- Width | 120 | 180 | 200 | 220 | 260 | 300 | 340 | |
| Eni- Width | 100 | 160 | 180 | 200 | 240 | 280 | 320 | ||
| Kova Kapasite | Buğ.- Wheat | 0.27 | 0.56 | 0.9 | Oca.32 | 01.7 | 02.6 | 03.2 | |
| Un - Flour | 0.17 | 0.35 | 0.6 | 0.84 | 01.3 | 01.8 | 02.6 | ||
| Kasnak hızı Pully Speed | (m/s) | 02.5 | 02.5 | 02.5 | 02.5 | 02.4 | 02.4 | 02.4 | |
| Model Type | E 16X16 | E 22X22 | E 25X25 | E 28X30 | E 30X35 | E 35X40 | E 40X45 |
| A | 985 | 1275 | 1330 | 1430 | 1520 | 1875 | 1980 |
| B | 823 | 1020 | 1030 | 1073 | 1095 | 1175 | 1185 |
| C | 190 | 200 | 200 | 200 | 220 | 250 | 250 |
| D | 430 | 530 | 530 | 530 | 570 | 600 | 600 |
| E | 735 | 940 | 1010 | 1095 | 1110 | 1390 | 1460 |
| F | 650 | 855 | 860 | 955 | 1000 | 1055 | 1060 |
| G | 310 | 380 | 400 | 440 | 470 | 510 | 550 |
| K | 845 | 1025 | 1025 | 1085 | 1255 | 1305 | 1355 |
| L | 750 | 1000 | 1000 | 1100 | 1200 | 1200 | 1200 |
| H | 160x155 | 215x240 | 240x220 | 275x220 | 350x350 | 345x335 | 395x360 |
| H1 | 150x120 | 180x170 | 225x210 | 225x220 | 300x325 | 280x300 | 375x345 |
| LxL | 160x160 | 220x220 | 250x250 | 280x300 | 300x350 | 350x400 | 400x450 |